高速公路工程建設,材料是成本占比非常大的部分;而無論何種設計方案,砂石料都是不可或缺的主要材料,在全部材料中用量非常大。砂石料屬于典型的地方材料,帶有強烈的地方屬性,不適于遠程運輸,應盡可能就近生產和供應。所以在工程施工組織設計時,砂石料場的規劃選擇是重中之重。
在某些地方,由于地方經濟及周邊地材市場較不發達,地方砂石料場設備配置、產量質量等無法滿足高速公路建設質量高、數量大的需求,只能依托工程周邊山體自建砂石料場來滿足工程需求,方能保質保量完成工程建設。本文分享高速公路項目自建料場的選址、場地建設、設備配置等。
01自建砂石料場選址原則及要求
自采砂石料場選擇需本著“合理規劃、有利施工、降低浪費、安全環保、文明施工、節能高效”的總體原則。項目需對工程周邊進行詳細周密的實際考察,結合建設方要求、國家環保政策、工程量清單和實際情況對自建砂石料場進行科學的選址、合理的規劃、精心的建設。對于需求數量大、要求標準高、建設周期長的項目可以按照專業規范、統一集約的高標準建設。自建砂石料場僅用于高速公路工程建設用料,不對外銷售,工程竣工后應停止開采及加工。選址的具體要求如下:
(1)石料場選址以滿足建設項目砂石料需求為前提,山體巖性及原石抗壓強度應滿足質量要求;可開采儲量應滿足數量要求;距離施工現場的運距應合適,不宜過遠。
(2)需參照科學合理、工藝先進與經濟實用相結合的原則。
(3)山體選擇時應綜合考慮安全、環保、交通等各方面條件,嚴禁占用重量級公益林,擬選的山體需易于開采。不能選在有泛洪、易滑坡、崩塌、沖溝、泥石流風險的地段。
(4)土地是不可再生資源,嚴禁占用基本農田。料場土地征用時在滿足工程需要的前提下應盡量減少土地占用,節約施工用地,杜絕土地浪費。
(5)臨時設施的建設滿足建設項目施工條件即可,要易于拆除及轉運,方便工程結束后的土地恢復工作。
(6)場地建設應符合施工現場防排水規范要求和環境衛生的要求,需滿足建設方相關安全生產、文明施工的要求。
02自建砂石料場的場地建設
自建砂石料場的場地需按照功能不同進行分區規劃建設,主要可分為生活區、辦公區、試驗區、毛石開采區、毛石分揀區、集料加工區、成品料堆放區、廢料及表土存放區等。場地建設時需充分考慮以下因素:
(1)因自建砂石料場需要爆破施工及機械作業,需保留一定的安全距離。場地應設置在正通行的縣級以上道路的可視范圍之外,離居民生活區、學校等環境敏感距離>300m,區域內無大型電力、通信設施及國防設備。
(2)自建砂石料場的場地面積需滿足日常生產、儲存、成品料裝車轉運、設備維修等需求。
(3)毛石堆放場地、生產設備架設區域、成品料堆放區等場區道路需壓實,并對軟弱土基做換填處理。壓實后可利用廢石渣或碎石墊層,厚度≥20cm;然后用≥20cm厚C20水泥混凝土硬化處理;場區運輸道路應充分考慮雙向通行需要,寬度宜≥8m。
(4)整體場地建設應充分考慮排水問題,應具有橫坡≥1.5%的坡度,按照中心高、四周低的原則建設。場地四周要根據原地貌地形合理設置排水設施,提前預埋排水管道。場地入口處可根據水資源情況設置洗車設備及三級污水沉淀池。
(5)路基及路面基層成品集料堆料倉應≥4個,路面瀝青面層成品集料堆料倉應≥5個。各成品料倉的尺寸設計時應綜合考慮施工配合比中各檔料的用量與實際產量來具體確定,需滿足至少可存儲當天生產的成品碎石的要求。路基項目每個料倉儲量宜≥250m³,路面項目宜≥400m³。
(6)堆料倉排水橫坡應≥1.5%,堆料倉地面內高外低形成向外側的排水橫坡,內墻外側下部預留孔洞,以便于排水。
(7)堆料倉頂面、背面、側面應采用帶窗輕型鋼結構大棚進行封閉處理,凈空高度建議≥9m。為保證安全,大棚立柱直徑≥160mm,每跨橫向距離≤30m,縱向距離≤6m,并具有防風、防塵、防雨、抗雪壓等功能。兩跨大棚中間大棚凹接處需設置排水孔,然后利用PVC排水管將雨水引入排水溝。大棚下方可懸掛質量安全等方面的宣傳標語。

03自建砂石料場設備配置及生產工藝要求
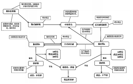
(1)高速公路工程對砂石料質量要求標準較高,特別是高標號混凝土和瀝青路面用料。自建砂石料場生產工藝需采用三級破碎工藝方能滿足路面瀝青所用集料的要求。三級破碎設備應根據開采山體的巖性具體配置,一般較為常見的石灰巖生產設備配置為:一破為1臺顎式破碎機,中碎為1~3臺反擊式破碎機,細碎為1臺沖擊式破碎機+除塵設備。對于花崗巖、玄武巖等硬度較大的石料,其設備配置一般為:顎式破碎機+中碎為1~2臺圓錐機+細碎為1~3臺反擊破/整形機,然后采取水洗工藝降低粉塵含量。
(2)為保障集料供應穩定,高標號混凝土及瀝青上面層用細集料應采用獨立制砂機生產線,用碎石成品料為原材料單獨加工。
(3)集料加工的技術指標應符合我國現行業規范和相關標準化文件技術要求及高速公路工程各結構層的要求。應根據各檔成品料級配及通過率要求,結合設備產量、山體巖性、振動篩尺寸角度與振幅,合理、科學、準確地配置篩網尺寸。必要時,篩網可以采用拼篩技術,即同一檔石料的篩網由篩孔尺寸相近的不同篩網拼接而成。
(4)集料加工場應建立簡易試驗室,配置電子天平、烘箱、搖篩機、方孔篩、游標卡尺等試驗檢測設備,配備一名試驗員,對集料針片狀含量、粉塵含量、級配、集料篩分等技術指標每天進行自檢。對不合格的碎石成品料堅決清理出場,嚴禁使用。
(5)應配備必要的施工機械,220以上挖機1~3臺,50裝載機1~2臺,30t運輸車輛4~8臺。
(6)自建砂石料場需要建立健全安全環保及文明施工管理體系,嚴格遵守國家相關安全、環保法律法規,健全崗位責任制,一崗雙責;從組織上、制度上、防范措施上保障安全生產、減少環境污染,堅持文明施工。
高速公路建設項目砼用砂石料品質要求較高、用料期集中、工期短,用料點分散、各生產點投入預算有限,為保證工程質量和建設效果,需要嚴格管控每一個環節。作者: 西芝文案 來源:網絡
手機版|
關注公眾號|

下載手機APP


